|
4.屋面隔热的新技术措施
屋面隔热是为了降低夏热冬暖地区夏季顶层房屋的自然室温,尽量减少其空调能耗。在夏热冬暖地区的屋顶必须进行隔热验算,如果不满足《民用建筑热工设计规范》的隔热要求,则节能审查不通过。
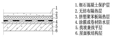
4.1倒置式屋面

倒置式屋面是将防水层置于隔热层下面的屋面构造。具有构造简单、施工及检修方便、隔热效果良好的特点。但隔热材料必须是受雨水浸泡不易腐烂而绝热性能持久的产品,XPS挤塑聚苯板是目前这种材料的最佳选择。
4.2种植屋面

种植屋面是利用屋面上种植的植物阻隔太阳能,防止房间过热的一项隔热措施。其隔热原理有三:(一)由于植被茎叶的遮阳作用,使得室外综合温度在屋面周围被降低,减弱了屋面温差的传热量;(二)植物的光合作用消耗太阳能用于自身的蒸腾;(三)植被基层的土壤或水体的蒸发消耗了太阳能。在夏热冬暖地区,这种屋面非常适合,并且还有良好的生态功效,也是绿色建筑的必选措施。
本地区有一种“佛甲草种植模块”值得推广,佛甲草是一种耐旱性极强的多浆针叶形植物的常绿草种,用于屋顶绿化,采用无土栽培,负荷极轻,并可取代传统的隔热层和防水保护层。佛甲草模块采用仅30毫米厚的特殊生长基,种植成活后,无需浇水、施肥、管理,200天无补水不死亡,也不会生虫。综合造价低,节能、环保、重量轻、易维护,是一种性价比极高的生态保温隔热屋面材料。
|